LW Vertical nonstop pump ensures efficient management of wastewater containing solids, and without worrying about waste water and industrial applications. Vertical design saves space while avoiding obstacles.
Item No :
LWOrder(MOQ) :
1Payment :
Alipay PayPal westernunion T/T L/CProduct Origin :
ChinaColor :
CustomizedShipping Port :
shanghai shenzhen guangzhouLead Time :
please contact 504893184@qq.com or CP +8613696510409Package :
CustomizedMaterial :
Cast ironNon-Clogging Vertical Sewage Pump
Our company has created three main product lines that make up the LW (WL) Series vertical sewage pumps. These pumps were modified to accommodate a variety of user needs and operating situations, based on the hydraulic model of the WQ (previously QW) submersible sewage pump series. Since its introduction, the LW Series has become well-known and praised for its cutting-edge design and dependable performance in the marketplace.
Product Application
Sewage discharge stations in residential areas, drainage systems in urban wastewater treatment plants, drainage stations in civil air defense systems, water supply installations in water treatment plants, sewage discharge in hospitals and hotels, municipal engineering construction sites, mining and exploration supporting equipment, rural biogas digesters, and agricultural irrigation are all appropriate uses for this product. It is capable of transporting clean water, corrosive media, sewage, and garbage that contains solid particles.
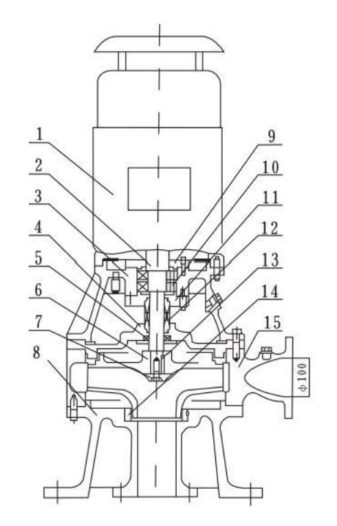
Structural Diagram

| 1 | Motor |
| 2 | Extension shaft |
| 3 | Bearing housing |
| 4 | Pump cover |
| 5 | Oil seal |
| 6 | Impeller |
| 7 | Impeller nut |
| 8 | Base |
| 9 | Bearing cover |
| 10 | Bearing |
| 11 | Mechanical seal seat |
| 12 | Mechanical seal |
| 13 | Key |
| 14 | Pump body wear ring |
| 15 | Pump body |